Межкомнатные дверные ручки с замком MG1624
Запрос цены
Этот продукт был снят с производства и более не предлагается.
Межкомнатные дверные ручки с замком MG1624 оснащены с системой открытия двери ключами. Двери с такими замками эффективно повышают общую безопасность помещений. Корпус замка изготавливается из оцинкованных стальных пластин, а защелки для наших замков изготавливаются из полиоксиметилена (РОМ пластика) и цинкового сплава. Такие защелки отлично приглушают звук срабатывания замка. Нажимные ручки изготовлены из алюминия, поверхность которых окрашивается гальваническим способом, что обеспечивает высокую адгезию, отличную коррозионную стойкость и долговечность, а затем полируются. Мы также можем изготовить замковые системы другой расцветки на заказ.
Размеры
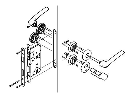
Основные части замка
| No. | Название | No. | Название |
| 1 | Корпус замка | 9 | Винт крепления ручки |
| 2 | Лицевая планка | 10 | Винт крепления розетки (накладки) |
| 3 | Защелка | 11 | Внешняя дверная накладка |
| 4 | Ригель (засов) | 12 | Внутренняя дверная накладка |
| 5 | Внешняя розетка | 13 | Цилиндрический замок |
| 6 | Внутренняя розетка | 14 | Винт крепления замка |
| 7 | Внешняя нажимная ручка | 15 | Ответная планка |
| 8 | Внутренняя нажимная ручка | 16 | Кованый короб под ригель и защелку |
Инструкция по установке
- Определите направление открытия двери. Вставьте корпус замка в установочное отверстие чтобы защелка находилась вверху, а ригель внизу.
Убедитесь, что уклон защелки направлен в сторону закрытия двери (если направление уклона неправильное, открепите защелку от корпуса замка и поверните ее на 180 °. Затем вставьте защелку обратно и закрепите ее). Установите лицевую планку, а затем затяните винты. - Установите розетки для нажимных ручек и затяните винты. Подсоедините внешнюю нажимную ручку, снабженную четырехгранным стержнем, через квадратное отверстие корпуса замка к рукоятке внутренней нажимной ручки, затем затяните винты.
- Установите дверные накладки для цилиндрового механизма и затяните винты. Установите цилиндр замка в отверстие внутренней дверной накладки и пропустите его через корпус замка и внешнюю накладку. Затем закрепите цилиндровый механизм к армированному корпусу замка винтами.
- Установите ответную планку на дверную коробку. После определения направления открывания двери установите кованый короб для защелки и ригеля. Убедитесь, что замок защелки и запорный ригель свободно перемещаются внутрь и наружу. Примечание: отклонение центральной линии на ответную планку и корпус замка не должно превышать 8,5 мм.
- Проверка после установки: поверните рукоятки нажимной ручки и нажмите на замок защелки вручную в направлении наклонной поверхности. Защелка должна нажимается без усилий, свободно двигается и выходить из лицевой планки. При нажатии на защелку без поворота нажимной ручки защелка не должна двигаться. Если защелка срабатывает правильно, установка завершена. Если нет, пожалуйста, разберите и соберите замок заново.
Схожая продукция
Обратная связь
Другие продукты
Новинки
Другие продукты
видео

